電話:021-62522001
發布日期:2022-02-18 09:45:04 編輯:NCC電容|黑金剛電容|NIPPON CHEMI-CON
瓷片電容是采用高介電常數的電容器陶瓷擠壓成圓片或者是圓盤作為介質的。并且在其表面會涂上一層金屬薄膜,而這類的電容其具有不可忽視的重要作用。從其陶瓷類別上區分其規格可以分為三類。包括I類瓷,II...
發布日期:2022-02-17 14:19:33 編輯:NCC電容|黑金剛電容|NIPPON CHEMI-CON
?Nippon Chemi-Con日本嘉美工簡稱NCC黑金剛電容。...
發布日期:2022-02-16 14:57:31 編輯:NCC電容|黑金剛電容|NIPPON CHEMI-CON
它不同于傳統的化學電源,是一種介于傳統電容器與電池之間、具有特殊性能的電源,主要依靠雙電層和氧化還原贗電容電荷儲存電能。但在其儲能的過程并不發生化學反應,這種儲能過程是可逆的,也正因為此超級電...
發布日期:2022-02-15 14:07:41 編輯:NCC電容|黑金剛電容|NIPPON CHEMI-CON
NCC引線型鋁電解電容-KZE系列,具有低Z、長壽命、超低阻抗等優點,廣泛應用于汽車電子、電源產品中。 引線式鋁電解電容器作為電氣設備的電子線路上的一個常用元器件,起著濾波、旁路、耦合、...
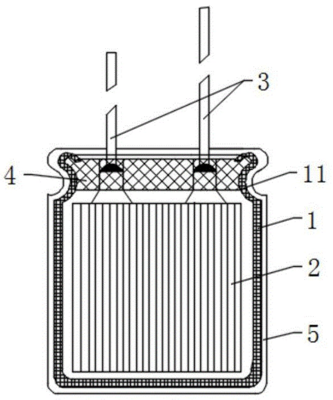
發布日期:2022-02-14 15:05:18 編輯:NCC電容|黑金剛電容|NIPPON CHEMI-CON
進行焊接時,請勿將鋁電解電容器主體浸入到熔融的焊劑中。 插入印刷配線板作為阻隔,只對放電容器側反面的基板表面 進行焊接...
發布日期:2022-02-13 19:21:06 編輯:NCC電容|黑金剛電容|NIPPON CHEMI-CON
由電容啟動的單相電動機有兩組線圈,有一個公共端,一個運行端,一個啟動端,電容接在運行端和啟動端之間,電源接在公共端和運行端時,電機正轉,電源接在公共端和啟動端時反轉...
發布日期:2022-02-12 15:46:50 編輯:NCC電容|黑金剛電容|NIPPON CHEMI-CON
鋁電解電容器根據電解質形態的不同可劃分為液態鋁電解電容器和固態鋁電解電容器;按引出方式的不同可分為引線式、焊針式、焊片式、螺栓式、貼片式等五種。按應用領域的不同鋁電解電容器分為消費類、工業類和...
發布日期:2022-02-11 17:17:44 編輯:NCC電容|黑金剛電容|NIPPON CHEMI-CON
高壓瓷片電容就是以陶瓷材料為介質的圓板電容器,在“瓷片”電容器中一般DC50v以下叫低壓,DC100V~500V為中高壓,DC1000v~6000v和為高壓,安規Y電容也是屬于高壓,DC600...
發布日期:2022-02-10 14:32:27 編輯:NCC電容|黑金剛電容|NIPPON CHEMI-CON
瓷片電容是沒有正負極之分,容量一般較小,常用于信號源濾波,出現極性也只是暫時行為。這是屬于無極性電解電容的一種,所以是沒有極性的。因此使用安裝過程中不需要進行正負極的識別,可隨意安裝。...
發布日期:2022-02-09 14:10:30 編輯:NCC電容|黑金剛電容|NIPPON CHEMI-CON
電容器是一種儲能器件,可分為有極性、無極性;普通的、電解的、鉭介質的等等類型。有極性的一般都是由電解層作絕緣物質,因其厚度非常小從而得到大的容量的【電解電容器】。正是因為用電解層作絕緣,所以要...
發布日期:2022-02-08 14:30:58 編輯:NCC電容|黑金剛電容|NIPPON CHEMI-CON
電解電容正負不可接錯,鋁電解電容器之所以有極性,是因為正極板上的氧化鋁膜具有單向導電性,只有在電容器的正極接電源的正極,負極接電源的負極時,氧化鋁膜才能起到絕緣介質的作用。如果將鋁電解電容器的...
發布日期:2022-02-07 14:16:29 編輯:NCC電容|黑金剛電容|NIPPON CHEMI-CON
鋁電解電容器的各種特性對溫度有著依賴性,溫度越高,劣化 就越快,漏電流增大、損失角正切增大、靜電容量減少的速度加快。 而且,長時間在高濕的環境中放置的話,有可能使端子及引線變色、 焊接性惡化。...
發布日期:2022-02-06 13:15:49 編輯:NCC電容|黑金剛電容|NIPPON CHEMI-CON
上海櫻拓貿易有限公司成立于2006年,已榮獲國內外眾多知名品牌電子元器件廠商的授權代理資質。公司代理的各類被動、主動電子元器件產品,廣泛應用于汽車電子、通信網絡、新能源、家電、電源、照明、安防...
發布日期:2022-02-05 14:07:33 編輯:NCC電容|黑金剛電容|NIPPON CHEMI-CON
鋁電解電容器是,電氣特性隨著時間的推移而漸漸劣化、故障率升高的損耗故障部品。一般的故障率Fit是由試料數×時間來決定。...
發布日期:2022-02-04 14:05:36 編輯:NCC電容|黑金剛電容|NIPPON CHEMI-CON
電容是電子設計中最常用的元器件之一,那電容到底在電路中起到什么作用呢?...